Kenmerken
Omschrijving
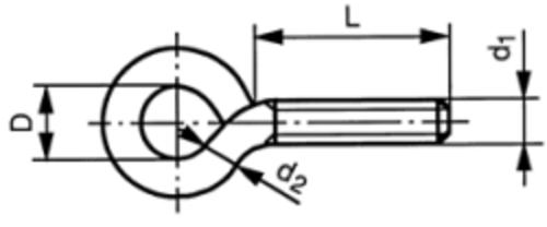
Schroefogen RVS A2 5.25x30x10
Artnr.
03880.523010
Diameter numeriek
5.25
Diameter
5,25
Kwaliteit
A2
Lengte
30
Maat
5,25 X 30
Uitvoering
RVS





