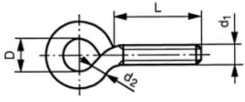
Closed screw-eye with metric thread Stainless steel A2 2 M 8 x 60 x 10
Specification
Description
Artnr.
03881.086010
Diameter numeric
8
Diameter
M8
Quality
A2
Length
60
Size
M8 X 60
Version
RVS





